商城首页欢迎来到中国正版软件门户

您的位置:首页 >Apple Watch可能将电池移动以改善触觉反馈

Apple Watch可能将电池移动以改善触觉反馈

  发布于2023-04-27 阅读(0)

扫一扫,手机访问

Apple 正在研究如何让Apple Watch中的电池移动,以便为佩戴者提供触觉反馈。

Apple 正在继续努力使 Apple Watch 更薄,这一次是为了消除对独立 Taptic 引擎的需求。苹果公司并没有被该引擎占用空间,而是希望看看它是否可以让电池作为触觉反馈源发挥双重作用。

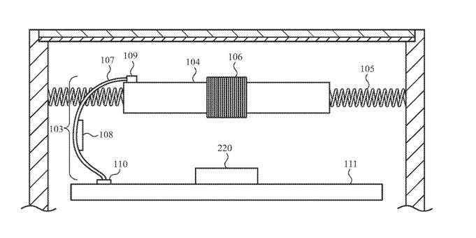
新授予的专利“具有带有移动电池元件的触觉设备的便携式电子设备”是重新定位触觉引擎的众多尝试中的最新一项。此前,Apple 曾考虑过使用触觉腕带,并考虑修改充电线圈来做同样的事情。

在每种情况下,对象都是相同的。苹果一直在寻找方法来获取它离不开的组件,并让它做得更多。

“传统上,电子设备包括一个或多个按钮或用于提供输入的机电开关,”专利申请说。“一些设备包括用于接收输入的触摸传感器或触摸屏。然而,触摸传感器通常缺乏机械反馈来提醒用户输入已被注册。”

“[本专利申请中的描述]针对的是一种触觉设备,该设备可以移动电池元件,以便沿着设备的外表面产生可触觉感知的脉冲或振动,”它继续说道。

这意味着拥有一个“电耦合到显示器”的电池,以及“配置为诱导电池元件平行于显示器的振荡运动以产生触觉输出”的“线圈组件”。

除了可能消除对单独触觉引擎以节省 Apple Watch 空间的需求外,Apple 还可能出于其他原因使用该空间。具体来说,Apple 指出,目前 Watch 的“电池组件可能比不包括触觉设备时的电池组件更小,从而降低了可能的电池寿命。”

大部分专利申请都涉及必须对电池进行哪些物理处理,以及它必须移动多少才能有效。

“触觉设备的质量越小,触觉设备可能需要移动质量越远才能产生相同的触觉输出,”它说。“例如,为产生相同幅度的触觉输出,与第二个质量一样大的第一个质量可以移动两倍的距离。”

Apple Watch可能将电池移动以改善触觉反馈专利中的细节显示连接到 Apple Watch 底盘的可移动电池

所以目前触觉引擎自己占用空间,然后由于需要移动而占用更多空间。“因此,即使质量更小以容纳更大的电池元件,触觉设备移动质量所需的额外空间仍可能限制电池元件尺寸的可用空间。”

“更大的电池元件可能需要更小的触觉设备,它可能没有足够大的质量和/或移动质量足够远以产生所需幅度的触觉输出,”Apple 说。

该专利试图为组件尺寸和功能之间的这种平衡提出解决方案,归功于包括 Erik G. de Jong 在内的六位发明人。他之前的相关工作包括一项专利,该专利涵盖了利用 Apple Watch 表带提供隐藏式电池的方法。

本文转载于:https://www.yundongfang.com/Yun165764.html 如有侵犯,请联系zhengruancom@outlook.com删除。
免责声明:正软商城发布此文仅为传递信息,不代表正软商城认同其观点或证实其描述。

热门关注