您的位置:首页 >Apple Vision Pro新专利曝光:将实现按需定制与组件更换
发布于2026-04-25 阅读(0)
扫一扫,手机访问
最近科技圈有个挺有意思的传闻,是关于苹果那个备受瞩目的头显设备。有消息称,苹果正在探索一种可能性:让未来的Apple Vision Pro变得更像一套“可自定义的积木”。用户说不定能根据自己今天要工作、明天要娱乐的不同需求,亲手更换电池、头带甚至显示模块。这听起来,是不是和咱们过去买电子产品,配置一锤子买卖的模式,很不一样?

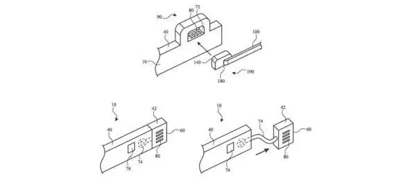
这份名为“可连接配件的头戴式设备”的专利,透露了一个核心设计理念。简单来说,苹果的想法是:Apple Vision Pro的主机本身,不必一次性集成所有用户未来可能需要的功能。那怎么办呢?答案是通过配件来扩展和自定义。
这就好比买了个基础款相机机身,镜头、闪光灯、握柄都可以按需搭配。专利里强调,用户可以非常方便地在不同场景下,连接不同的配件或外部设备,从而获得差异化的组件与功能组合。这个思路一旦落地,设备的适应性和生命周期可能会大大延伸。

相关报道
专利文件里举了个很贴近生活的例子,直接点明了这种模块化设计的价值所在:同一位用户,在不同场景下的核心需求其实是冲突的。比如,在家沉浸式观影或处理精细3D模型时,用户肯定渴望一块顶级的、高分辨率屏幕;但当他需要戴着设备出门开会或长途旅行时,续航能力就一跃成为了首要考量。
这时候,如果屏幕、电池这些核心部件都能自由更换,问题就迎刃而解了。当然,别指望苹果会随机附赠一块“低分辨率续航版”屏幕让你换着玩。行业分析普遍认为,这种组件更换,极大概率会以官方付费配件的形式单独发售。想获得长续航?可能得额外购买一块专用电池模块。

这里又引出一个有趣的问题:未来的Vision Pro配件生态会如何构建?目前,Apple Vision Pro还没有像“Made for iPhone”那样成熟的第三方配件认证计划。如果苹果维持相对封闭的策略,那么很可能只会由官方推出最新的认证配件,形成一个类似iPad智能接键盘那样的专属生态。
但无论最终生态是开放还是封闭,模块化设计的方向似乎已经指明:未来的Apple Vision Pro,可能会以一个核心的主体框架为基础,像搭积木一样外接各类功能组件。从专利附图展示的多种设备与框架的连接方式来看,苹果在机械结构和接口设计上,确实已经做了不少功课。未来的头显设备,或许真的会从“一体机”时代,迈入“组装机”的新阶段。
售后无忧
立即购买>office旗舰店
售后无忧
立即购买>office旗舰店
售后无忧
立即购买>office旗舰店
售后无忧
立即购买>office旗舰店
正版软件
正版软件
正版软件
正版软件
正版软件
1
2
3
4
5
6
7
8
9