您的位置:首页 >江苏昆山首个独角兽要IPO了!清华团队卖电池,年入超9亿元
发布于2026-04-27 阅读(0)
扫一扫,手机访问
「IPO全观察」栏目聚焦首次公开募股公司,报道企业家创业经历与成功故事,剖析公司商业模式和经营业绩,并揭秘VC、CVC等各方资本力量对公司的投资加持。
作者丨流光
编辑丨关雎
头图丨豆包

固态电池赛道,终于跑出了第一家冲击港股的公司。近日,清陶(昆山)能源发展集团股份有限公司正式向港交所主板递交上市申请。一旦成功,这家公司将成为名副其实的“港股固态电池第一股”。
清陶能源是做什么的?简单说,它的核心业务就是研发、生产和销售固液混合电池与全固态锂电池。目前已经实现量产的,主要是固液混合电池,产品覆盖动力电池、储能电池、固态电解质材料以及锂电自动化装备,客户名单里不乏知名的汽车制造商和储能系统集成商。
更值得关注的是其技术前瞻性。公司的全固态电池已在2025年启动中试,而搭载其全固态电池的样车,更是在2026年3月就已下线,技术迭代的节奏相当紧凑。
市场表现如何?数据最有说服力。截至2026年4月,清陶的电池已经搭载于智己、名爵、福田等品牌超过30款车型,累计交付量超过1.68万套。在储能领域,它更是拿下了标杆项目——作为独家电池供应商,为全球最大的固液混合电池储能站,即内蒙古乌海800MWh储能电站供货。
行业地位方面,根据弗若斯特沙利文的数据,2025年,清陶能源在全球固液混合及全固态电池市场中占据了33.6%的份额,在中国市场更是高达44.8%,两项数据均位列第一。同年,公司营收达到9.43亿元,同比增长超过一倍,增长势头迅猛。
这家公司的“清华基因”非常突出。核心团队主要来自清华大学材料学院,四位创始人冯玉川、李峥、南策文、杨帆合计控制公司约37%的投票权。其中,杨帆是冯玉川的妻子。上市前,四人已签署一致行动协议,确保了控制权的稳定。
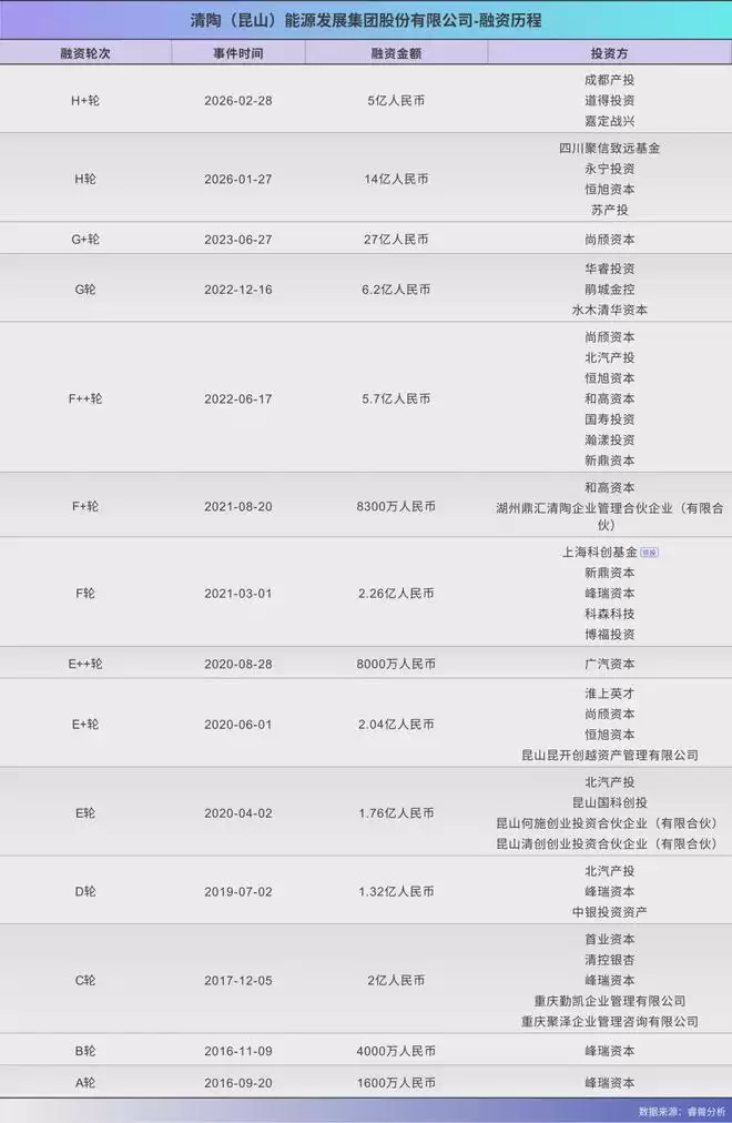
回顾其资本之路,堪称一部教科书级的融资范本。过去近10年,清陶能源完成了多达11轮融资,IPO前估值已高达279亿元,成为江苏昆山历史上第一家独角兽企业。其投资方阵容豪华,涵盖了峰瑞资本、上汽集团、北汽集团、广汽集团、清控银杏等知名机构。其中,峰瑞资本作为最早进入的VC,从A轮开始持续加持,目前是最大的外部股东;上汽集团则是第二大股东。整车厂的深度绑定,为其产品落地提供了关键通道。

清陶能源的技术底牌,源于清华大学材料学院南策文院士团队。南策文是中国科学院院士,在功能陶瓷领域是公认的顶尖学者。
他的学术之路颇具传奇色彩:1962年出生于湖北浠水农村,15岁便考入大学,之后一路深造。1999年被清华大学聘为教授,2002年成为国家“973”计划功能陶瓷项目的首席科学家,学术积淀深厚。
2003年,19岁的冯玉川考入清华大学材料科学与工程系,本硕连读,师从南策文。这段求学经历,不仅让他结识了同门师兄弟李峥、何泓材等人,更在一次与国内电池企业比克的合作项目中,真切感受到了锂电池行业的巨大潜力,埋下了创业的种子。

清陶能源创始人、执行董事、董事会主席冯玉川 图源:清陶能源
2010年硕士毕业后,冯玉川先进入了北汽新能源工作,积累了产业经验,之后又在2024年获得了清华大学先进制造博士学位。而李峥则在清华待了整整11年,直到2014年博士后出站。
正是2014年,冯玉川与李峥决定,将导师团队的固态电解质研究成果推向产业化。他们联合南策文、杨帆,在江苏淮安盱眙成立了江苏清陶。创业初期,团队并没有直接挑战难度最高的固态电池,而是选择了一个更务实的切入点:从液态锂电池的陶瓷隔膜产品做起。通过这类产品实现自我造血,为后续攻克固态电池技术积累资金和经验。
转机出现在2015年。昆山市政府在清华大学的一场招商活动,以其优越的营商环境和政策支持,吸引了冯玉川团队。次年6月,团队在昆山开发区正式成立清陶能源,开始全力推进固态锂电池的研发与商业化。南策文院士担任首席科学家,为技术方向掌舵。
团队的另一位关键人物何泓材也随后加入。这位当年冯玉川和李峥的带班辅导员,在加入清陶前已是中国电子科技大学的教授。2016年,他毅然辞去12年的教职加入公司,现任副总经理兼研究院院长。目前,公司由冯玉川担任董事会主席,李峥担任总经理,核心架构稳固。

要理解清陶的价值,先得弄明白固态电池是什么。目前市面上主流的液态锂电池,依靠正负极之间的有机电解液和隔膜来工作。而固态电池,顾名思义,是用固态电解质取代了电解液和隔膜。这一替换,带来了能量密度更高、安全性更好、形态更灵活等巨大优势,但同时也伴随着离子电导率低、界面阻抗大、工艺复杂、成本高昂等一系列世界性难题。在清陶能源成立的2016年,固态电池基本还停留在实验室的论文里。
当时,行业主流的技术路线有三条:聚合物、硫化物和氧化物。日韩巨头如丰田、三星SDI等主攻的硫化物路线被普遍看好,而氧化物路线则因导电性差等问题,被认为难以突破。

清陶能源偏偏选择了一条更难的“复合路线”:氧化物+聚合物。这意味着,他们需要同时攻克氧化物路线的界面问题和聚合物路线的电导率问题,产业化难度呈几何级数增加。
正因如此,公司早期的融资之路走得并不顺畅。2016年的A、B两轮融资,仅有峰瑞资本一家机构敢于反赌,公司估值仅停留在数千万元级别。用峰瑞资本创始合伙人李丰的话说,当时很难想象它能成长为一家估值数百亿的巨头。
转折点始于产业资本的入场。2019年,冯玉川的老东家北汽集团通过旗下产投领投D轮、E轮,成为首家入局的整车厂。这不仅带来了资金,更重要的是打开了至关重要的车规级产品验证通道。此后,上汽、广汽相继在后续轮次投资,清陶能源成功集齐了北、上、广三家主流车企的战略投资,生态护城河初步形成。
与上汽的绑定尤为深入。2024年,上汽以27亿元独家投资G+轮,创下当时国内固态电池赛道最大单笔融资纪录。双方的合作迅速落地:成立合资公司“清陶动力科技”,并约定未来三年上汽采购10万套电池产品。2024年4月,搭载清陶“光年”固液混合电池的上汽智己L6量产交付,续航突破1000公里;2025年9月,全球首批量产交付的固液混合电池车型上汽MG4上市,同样采用了清陶的电池。
资本市场的热情一路高涨。到2026年递表前,公司估值已飙升至279亿元。粗略计算,其每股成本从A轮的0.3元涨至47.5元,十年间上涨了约158倍。


清陶能源的业务版图,紧密围绕其核心产品——固液混合电池展开,形成了动力电池、储能电池和自动化装备三大板块。其中,电池产品贡献了超过95%的收入。
在动力电池领域,公司采取的是“深度绑定车企”的策略。从整车开发早期就介入,与主机厂共同确定技术方案并参与测试。这种模式一旦成功定点,客户粘性极高,但代价是开发周期长、前期投入大。目前,其产品已搭载于智己L6、MG4等30余款车型。2025年,由于开始向头部车企大规模供货,动力电池平均售价有所下降,导致该板块毛利率为负。但这恰恰从侧面印证,其产品已通过严苛的车规级验证,进入了规模化放量的关键阶段。
真正成为公司收入“压舱石”的,是储能业务。招股书显示,清陶能源是全球最早将固态电池规模化用于储能的企业。其储能电池循环寿命最高可达8000次,应用于电网侧、工商业等多个场景。2025年,储能业务贡献了62.8%的收入,且毛损率已大幅收窄至6.0%,接近盈亏平衡点。
此外,公司保留的自动化装备业务,虽然收入占比不高,但毛利率稳定在20%左右,是少数持续盈利的板块,为研发投入提供了宝贵的现金流补充。

图源:招股书
公司的野心不止于此。除了动力和储能,清陶能源还为AI终端、机器人、低空飞行器等新兴高增长赛道储备了产品。这些场景对电池的重量、能量密度和安全性要求极为苛刻,相应的产品定价和利润率也更具想象空间。目前,相关合作已在推进,但收入贡献尚处早期。
产能布局上,截至2025年底,清陶能源在国内拥有五大电池生产基地,总年产能达6.8GWh。产能利用率已从2024年的低位回升至2025年的53%,显示公司正从技术验证期迈向规模化生产阶段。
出海,是下一个战略重点。2026年3月,上汽在法兰克福宣布,MG4 Urban将成为欧洲首款搭载清陶固液混合电池的量产车型。在储能领域,公司正通过与TÜV莱茵合作推进认证,计划优先进入欧洲、东南亚及澳洲市场。
当然,挑战同样清晰可见。公司的客户集中度较高,2025年前五大客户贡献了74.9%的收入,其中北汽、上汽分别占17.5%和5.8%。同时,由于产能爬坡期的利用率不足以及高昂的研发投入,公司仍处于亏损状态,过去三年累计亏损超过31亿元。这是技术先锋在产业化初期不得不面对的普遍困境。

清陶能源各年度五大客户详情 图源:招股书

图源:招股书

固态电池的风,确实越吹越劲。根据弗若斯特沙利文的预测,全球固液混合及全固态电池的出货量将从2025年的6.0GWh暴增至2030年的745.2GWh,年复合增长率高达151.2%,渗透率有望提升至12.3%。
目前的市场格局尚未固化,呈现出“一超多强”的态势。2025年,清陶能源以33.6%的全球份额排名第一,卫蓝新能源、宁德时代、赣锋锂业、太蓝新能源等紧随其后,前五名合计份额不足70%,变数依然很大。

从技术演进路径看,行业共识是“半固态先行,全固态接力”。半固态(即固液混合)电池作为过渡方案,预计有5-7年的商业化窗口期。而全固态电池的产业化拐点,普遍被认为将在2030年前后到来。中国科学院院士欧阳明高曾提醒,在此之前不宜过于乐观。当然,这并不妨碍众多企业将全固态的量产时间表设定在更激进的2027年前后。
摆在所有玩家面前的挑战是共通的:技术路线仍未统一,固-固界面接触、循环寿命、一致性等工程难题亟待突破。更重要的是成本,全固态电池的材料成本目前仍是传统液态电池的3-5倍,距离大规模商业化尚有距离。
对于清陶能源而言,选择氧化物复合路线率先实现量产上车,无疑在时间上抢得了宝贵的先机。但硬币的另一面是,该路线在能量密度和离子电导率的上限可能不如硫化物路线,未来向全固态跨越时,或许面临技术路线的切换与抉择。
可以预见,接下来几年,随着宁德时代、比亚迪、丰田等巨头的全固态产品陆续从实验室走向生产线,这场关乎下一代电池技术王座的竞争,才真正进入白热化阶段。清陶能源凭借先发优势和深厚的产业绑定,已拿到了决赛圈的入场券,但最终的胜负,仍取决于技术迭代的速度、成本控制的力度以及市场开拓的广度。
声明:包含AI生成内容
售后无忧
立即购买>office旗舰店
售后无忧
立即购买>office旗舰店
售后无忧
立即购买>office旗舰店
售后无忧
立即购买>office旗舰店
正版软件
正版软件
正版软件
正版软件
正版软件
1
2
3
4
5
6
7
8
9