商城首页欢迎来到中国正版软件门户

最新文章

  • mysql的语法规范有哪些 正版软件
    mysql的语法规范有哪些
    1、mysql的sql语法不区分大小写。2、命名时尽量使用26个英文字母大小写,数字0-9,下划线。不要使用其他符号。3、建议不要使用mysql的关键词作为表名、字段名等。如果不小心使用,请在SQL语句中使用`(飘号)引起来。4、数据库和表名、字段名等对象名之间不应包含空格。在同一个mysql软件中,数据库不能同名。在同一个库中,表不能重名,在同一个表中,字段不能重名。实例#以下两句是一样的,不区分大小写showdatabases;SHOWDATABASES;#创建表格#createtablestuden
    1063天前 MySQL 0
  • thinkphp6中怎么使用jwt认证 正版软件
    thinkphp6中怎么使用jwt认证
    thinkphp6使用jwt客户端使用用户名和密码请求登录服务端收到请求,验证用户名和密码验证成功后,服务端会签发一个token,再把这个token返回给客户端客户端收到token后可以把它存储起来,比如放到cookie中客户端每次向服务端请求资源时需要携带服务端签发的token,可以在cookie或者header中携带服务端收到请求,然后去验证客户端请求里面带着的token,如果验证成功,就向客户端返回请求数据安装jwt扩展composerrequirefirebase/php-jwt安装之后
    1063天前 thinkphp jwt 0
  • Python编程:掌握函数输入参数的规则 正版软件
    Python编程:掌握函数输入参数的规则
    ​本文内容主要涉及如下几个主题方法,文章有点长,请收藏以便查阅。函数参数即为函数的输入,可分类为五组。位置或关键字参数:同时允许位置和关键字参数;可变位置参数:在元组中收集任意数量的位置参数;可变关键字参数:在字典中收集任意数量的关键字参数;仅限位置参数:只能作为位置参数传递;仅限关键字参数:只能作为关键字参数传递。到目前为止,我们所看到的例子中,看到的所有参数都是普通的位置参数或关键字参数。也已经了解了如何将它们作为位置参数和关键字参数传递。关于它们没有太多要说的了,所以我们要来看看其他类别。在此之前,
    1063天前 Python 编程 位置 0
  • Java多态数组如何使用 正版软件
    Java多态数组如何使用
    多态概述多态概念:所谓多态就是指程序中定义的引用变量所指向的具体类型和通过该引用变量发出的方法调用在编程时并不确定,而是在程序运行期间才确定,即一个引用变量到底会指向哪个类的实例对象,该引用变量发出的方法调用到底是哪个类中实现的方法,必须在由程序运行期间才能决定。因为在程序运行时才确定具体的类,这样,不用修改源程序代码,就可以让引用变量绑定到各种不同的类实现上,从而导致该引用变量调用的具体方法随之改变,即不修改程序代码就可以改变程序运行时所绑定的具体代码,让程序可以选择多个运行状态,这就是多态性。多态存在
    1063天前 Java 0
  • Java中的Switch条件语句怎么使用 正版软件
    Java中的Switch条件语句怎么使用
    一、switch条件语句1.switch是一个很常用的选择语句,和if语句不一样,它是对某个表达式的值做出判断,然后决定程序执行哪一段代码。例如:一个学生的英语成绩进行等级划分,90~100分显示成绩等级为A,80-89分显示成绩为B,70~79分显示成绩为C,60~69分显示成绩为D,0~60分显示成绩为E。2.switch语法语句:switch(表达式){case条件1:c1:单个或多个语句break;case条件2:c2:单个或多个语句break;case条件3:c3:单个或多个语句break;&h
    1063天前 Switch Java 0
  • MySQL的SELECT语句用法详解 正版软件
    MySQL的SELECT语句用法详解
    select语句可以用回车分隔$sql="select*fromarticlewhereid=1"和$sql="select*fromarticlewhereid=1"都可以得到正确的结果,但有时分开写或许能更明了一点,特别是当sql语句比较长时。批量查询数据可以用in来实现$sql="select*fromarticlewhereid;in(1,3,5)"使用concat连接查询的结果$sql="selectconcat(id,"-",con)asresfromarticlewhereid=1"返回"1
    1063天前 MySQL select 0
  • 如何使用 Python 定时爬取微博评论? 正版软件
    如何使用 Python 定时爬取微博评论?
    [[443032]]【Part1——理论篇】大家好,我是皮皮。试想一个问题,如果我们要抓取某个微博大V微博的评论数据,应该怎么实现呢?最简单的做法就是找到微博评论数据接口,然后通过改变参数来获取最新数据并保存。首先从微博api寻找抓取评论的接口,如下图所示。但是很不幸,该接口频率受限,抓不了几次就被禁了,还没有开始起飞,就凉凉了。接下来小编又选择微博的移动端网站,先登录,然后找到我们想要抓取评论的微博,打开浏览器自带流量分析工具,一直下拉评论,找到评论数据接口,如下图所示。之后点击
    1063天前 Python 评论 微博 0
  • Linux下怎么查看mysql数据库操作记录 正版软件
    Linux下怎么查看mysql数据库操作记录
    Linux下查看mysql数据库操作记录具体方法MySQL中的参数general_log用来控制开启、关闭MySQL查询日志,参数general_log_file用来控制查询日志的位置。所以如果你要判断MySQL数据库是否开启了查询日志,可以使用下面命令。general_log为ON表示开启查询日志,OFF表示关闭查询日志。mysql>showvariableslike'%general_log%';+------------------+-------------------------
    1063天前 Linux MySQL 数据库 0
  • 如何用Java读取文件夹大小 正版软件
    如何用Java读取文件夹大小
    (一)单线程递归方式packagecom.taobao.test;importjava.io.File;publicclassTotalFileSizeSequential{publicstaticStringfileName="C:\\DocumentsandSettings\\Administrator\\桌面\\monkeytalk";//递归方式计算文件的大小privatelonggetTotalSizeOfFilesInDir(finalFilefile){if(file.isFile())re
    1063天前 Java 0
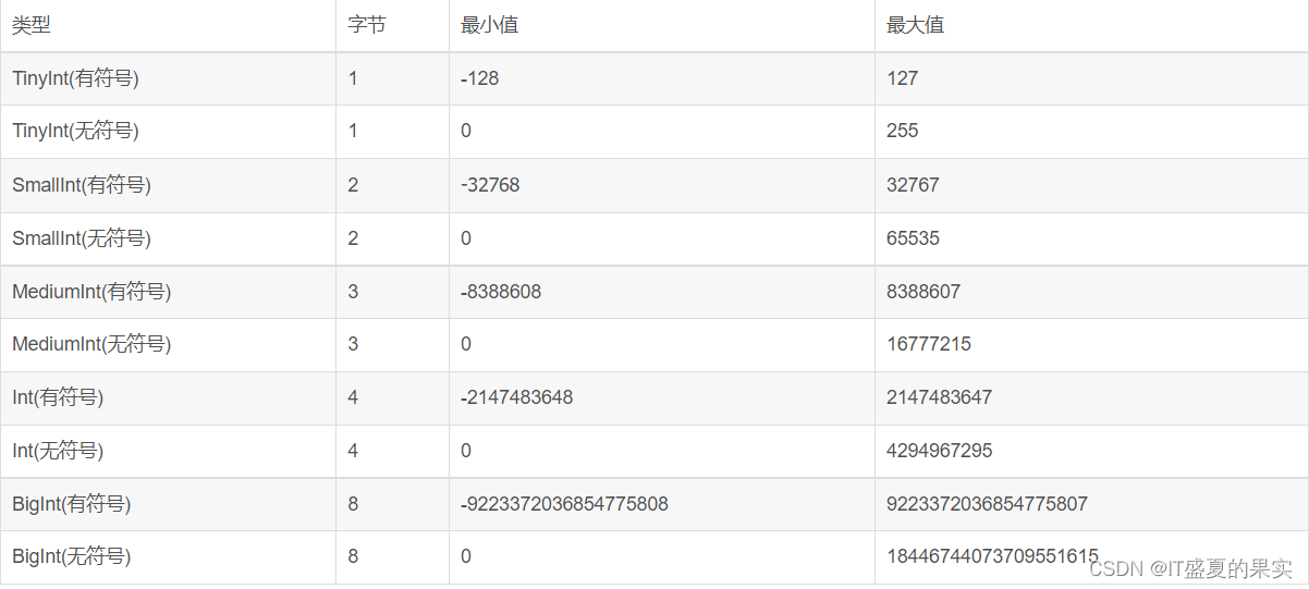
  • MySQL中tinyint(1)和tinyint(4)的区别是什么? 正版软件
    MySQL中tinyint(1)和tinyint(4)的区别是什么?
    1.varchar(M)和数值类型tinyint(M)的区别字符串类型:varchar(M)而言,M是字段中可以存储的最大字符串,也就是说字段长度。根据设置,当你插入的数值超过字段设置的长度时,很有可能会收到错误提示,如果没有收到提示,插入的数据也有可能被自动的截断以适应该字段的预定义长度。所有像varchar(5)表示其存储的字符串长度不能超过5。数值列类型:其长度修饰符表示最大宽度,与该字段物理存储没有任何关系,也就是说,tinyint(1)和tinyint(4)有符号的情况下存储范围都是-128到1
    1063天前 MySQL 0