商城首页欢迎来到中国正版软件门户

最新文章

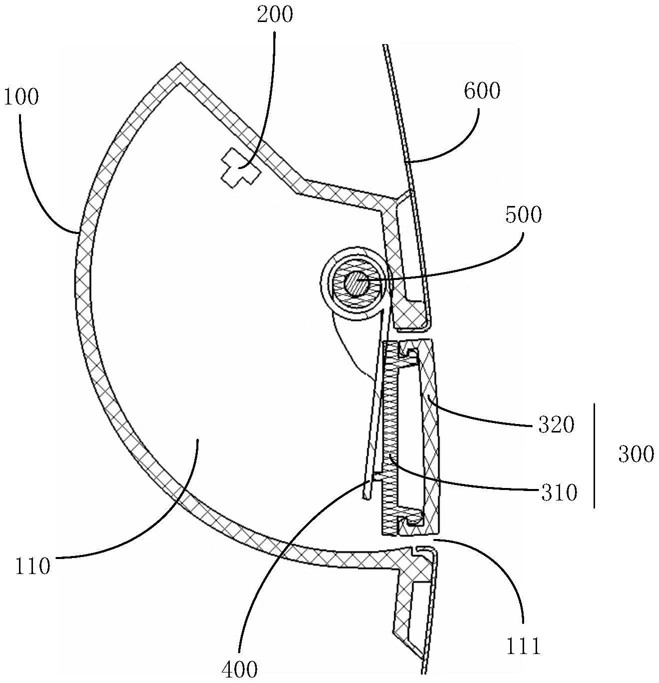
  • 小米半隐藏式门把手专利获批,无电驱+低成本 正版软件
    小米半隐藏式门把手专利获批,无电驱+低成本
    近日,据天眼查信息,小米汽车SU7的隐藏式门把手专利获批,专利部件包括底座、操作口、开关组件、手柄组件等,该专利于1月2日正式通过,而使用了该隐藏式门把手设计的车型SU7已经正式发布。在小通看来,小米汽车的只能算「半隐藏式门把手」,可能目前行业内还没有半隐藏式门把手的概念,只要不是传统门把手,就统称为隐藏式门把手。大多数隐藏式门把手的设计和车身融为一体,采用电子感应自动弹出设置。这种结构过于新颖,部分初次使用的用户甚至不知道该怎么开启,开门可能需要「斗智斗勇」,而半隐藏式门把手更加方便打开,避免了这种尴尬
    569天前 0
  • “如果不努力工作,未来就只能开豪车了” 正版软件
    “如果不努力工作,未来就只能开豪车了”
    \"以前没钱买国产,现在没钱买国产。\"有网友看到近期国产新能源新品定价后,这样总结。进入12月,一边是车企和经销商们\"以价换量\"用大促冲刺全年销量,另一边是新发布的新能源车型价格直逼传统豪车,蔚来ET9定价80万、问界M9定价超50万……在\"价格战\"硝烟弥漫的当下,车企为何要反向操作,越卖越贵呢?新能源车冲击中高端▲来源:社交媒体截图年末,汽车行业\"价格战\"再起,无论是传统燃油车,还是新能源车都加大马力花式促销。中国汽车流通协会发布的调查结果显示,经测算,截至11月底中国国内汽车经销商总库存
    570天前 0
  • 键盘为何会突然发生故障无法输入文字? 正版软件
    键盘为何会突然发生故障无法输入文字?
    键盘是我们在日常使用电脑处理工作的时候最常用的硬件设备了,但是有时候我们也会发现键盘会突然失灵打不了字,现在就给大家排查一下几种情况。为什么键盘会突然失灵打不了字一、键盘故障如果是笔记本电脑的键盘,如果打不出英文和中文,首先需要排查的是键盘是否坏了,或者是不是禁用了键盘。如果是台式机的话,可以吧键盘拔下来插到别的电脑上看一下能否打出字来。二、端口出了故障如果是笔记本电脑经受了摔砸或者是高频率的震动,会导致键盘的接口松动或者脱落,这种情况个人是无法处理的,建议联系品牌售后进行处理。如果是台式机,一般是两种端
    570天前 键盘 突然失灵 打不了字 0
  • ROG 2024 CES 国内发布会确立日期,计划于1月9日发布幻 Air 系列笔记本 正版软件
    ROG 2024 CES 国内发布会确立日期,计划于1月9日发布幻 Air 系列笔记本
    本站1月4日消息,ROG2024CES全球发布会将在1月9日上午7点举行,国内发布会现已定档1月9日19:00。ROG表示,即将发布的新品“为智能极尽精工,轻韧而来”。官方海报中出现了Air字样,预计新品将是幻Air系列笔记本。据本站日前报道,ROG枪神8/8Plus系列游戏本已经上架京东开启预约,外观不变,搭载14代酷睿HX系列处理器和RTX40系独显,售价11499元起。ROG2024CES发布会的重点可能是采用新模具的幻Air系列笔记本,其他产品包括ROG首款NUC主机,可能还有新款冰刃双屏游戏本。
    571天前 ROG CES 2024 幻air 0
  • 罗技G304的驱动程序是什么名字? 正版软件
    罗技G304的驱动程序是什么名字?
    罗技g304驱动的完整名称叫LogitechGamingSoftware罗技游戏软件,相信有很多人都在使用这款软件,这款软件也是非常的好用,可以让你更充分的了解自己的鼠标从而做出更好的操作。罗技G304驱动叫什么:答:LogitechGamingSoftware罗技游戏软件这款软件的完整名称叫做LogitechGamingSoftware罗技游戏软件。这款软件可以让你更好的了解自己的鼠标,从而做出更好的操作,十分的好用。罗技鼠标介绍:1、提高了精度,使用了游戏光学传感器,他的精密度,追踪速度和一致性比任何
    572天前 0
  • 如何确定JBL耳机的真伪信息 正版软件
    如何确定JBL耳机的真伪信息
    jbl耳机是很多听音乐用户的首选,好评如潮,但是对于假货大家还是非常的害怕的,那么jbl耳机怎么查询真伪来避免这个问题呢?下面就看看怎么查询吧。jbl耳机怎么查询真伪:1、首先进入“中国商品信息验证中心”。2、然后输入查询码,即可查看是否正确从而判断是不是真货。3、也可以去通过耳机声音的清晰度来进行分辨。正牌的耳机声音是非常的清晰的,音质也不会出现改变。假牌的耳机声音会有很多的掺杂,音质也是特别的差。4、大家可以将自己的耳机声音开到最大,看看是不是很和谐,真耳机声音都是一样的。但是假耳机的声音开到最大之后
    573天前 查询 详情 真伪 150
  • ROG 上架 2024 年款幻 14 系列笔记本:AMD 锐龙 9 7940HS、可选 RTX 4090 显卡,售 18999 元起 正版软件
    ROG 上架 2024 年款幻 14 系列笔记本:AMD 锐龙 9 7940HS、可选 RTX 4090 显卡,售 18999 元起
    本站1月3日消息,ROG今天在京东上架了两款2024年款幻14笔记本,分别为“经典版”与“星云版”,主要差别在于显卡、重量及A面灯效,本站整理具体参数信息如下:2024年款幻14笔记本“经典版”CPU:AMD锐龙97940HS移动处理器显卡:英伟达RTX4080125WRAM:32GBDDR5(16GB+16GB)存储空间:1TBPCIe4.0SSD屏幕:14英寸16:10比例2.5K屏幕,刷新率165Hz,响应速度3ms重量:1.65千克厚度:18.5mm电池:76Wh容量,支持100WPD充电配色:经
    574天前 ROG 幻 14 50
  • 惠普暗影精灵 10 游戏主机配置上新:i5-14400F + RTX 4060 版本 6299 元 正版软件
    惠普暗影精灵 10 游戏主机配置上新:i5-14400F + RTX 4060 版本 6299 元
    本站1月9日消息,在英特尔推出14代非K系列处理器之后,惠普也迅速更新了其暗影精灵10台式电脑的配置单:i5-14400F、RTX3050、16GDDR4内存、1TBSSD、350W电源:5499元i7-14700F、RTX3050、16GDDR4内存、1TBSSD、350W电源:6499元i5-14400F、RTX4060、16GDDR4内存、1TBSSD、350W电源:6299元i7-14700F、RTX4060、16GDDR4内存、1TBSSD、350W电源:7299元i5-14400F、RTX40
    575天前 惠普 暗影精灵 0
  • 联想推出 ThinkCentre neo Ultra 迷你主机:可选 14 代 i9 处理器、RTX 4060,1499 美元起 正版软件
    联想推出 ThinkCentre neo Ultra 迷你主机:可选 14 代 i9 处理器、RTX 4060,1499 美元起
    本站1月9日消息,联想在今天的CES2024会场中展示了ThinkCentreneoUltra迷你主机,该主机体积为3.6L,起售价格为1499美元(本站备注:当前约10733元人民币),预计将在今年第二季度上市。▲图源联想官方新闻稿(下同)据悉,这款迷你主机基于英特尔vPro企业平台,可选英特尔14代酷睿i9系列处理器、英伟达RTX4060显卡、64GBRAM,并支持安装独立NPU计算卡。此外,官方提到这款迷你主机采用三重主动散热设计,从主机顶部吸入冷空气,并从底部排出,号称能够“最大限度利用内部空间”
    576天前 联想 迷你主机 CES2024 0
  • 佰维发布国产 CXL 2.0 DRAM 内存扩展模块:最高容量 96GB,理论带宽 32GB/s 正版软件
    佰维发布国产 CXL 2.0 DRAM 内存扩展模块:最高容量 96GB,理论带宽 32GB/s
    本站12月27日消息,随着AI应用爆发,“内存墙”成为制约计算系统性能的主要因素之一。CXL建立在PCIe的物理和电气接口之上,CXL内存扩展功能可在服务器中的直连DIMM插槽之外实现额外的内存容量和带宽,支持内存池化和共享,满足高性能CPU/GPU的算力需求。近日,国产佰维存储宣布成功研发出支持CXL2.0规范的CXLDRAM内存扩展模块。佰维CXL2.0DRAM采用EDSFF(E3.S)外形规格,内存容量最高96GB,同时支持PCIe5.0×8接口,理论带宽可达32GB/s,可与支持CXL规范及E3.
    577天前 内存 DRAM 佰维 CXL 0