商城首页欢迎来到中国正版软件门户

您的位置:首页 >"未来的Apple Pencil或将享有全新的全触控式控制技术"

"未来的Apple Pencil或将享有全新的全触控式控制技术"

  发布于2023-04-27 阅读(0)

扫一扫,手机访问

除了现有的双击功能外,Apple Pencil还可以通过更全面的触摸感应控制来识别滑动等手势。

Apple Pencil 2增加了用户通过双击触控笔主体上的面板来选择项目或更改模式的能力。苹果已于2020 年 1 月获得“基于触控笔的触控输入”的专利,现在又获得了同名 的更新专利。

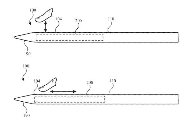
修改很小,两项授权专利都涉及在用户指尖放置一个灵活的传感器,该传感器可以接收触觉输入。

“触觉输入可以在用户的​​自然握持位置接收,”Apple 在“基于触控笔的触控输入”中说。

“此外,触控笔可以有效地区分来自用户的触觉输入,而忽略在用户只需将触控笔保持在用户的自然握持位置时提供的持续触觉输入,”它继续说道。

该专利指出,当有人使用 Apple Pencil 或任何触控笔时,他们不太可能同时触摸iPad或类似设备的屏幕。

专利中的细节显示(顶部)点击或按下,以及(底部)滑动手势

“[当]用户拿着手写笔或其他基于触摸的输入设备时,用户可能会受到由此提供的输入选项的限制,”它说。“因此,集成到输入设备中的附加输入功能将为用户提供扩展的输入功能,而无需同时操作附加输入设备。”

为了实现这一点,Pencil 将添加一个“低调”传感器,例如电容式感应设备。

“可以在用户的​​自然抓握位置接收触觉输入,”它继续说道。“此外,触控笔可以有效地区分用户的触觉输入,而忽略用户只需将触控笔保持在用户自然握持位置时提供的持续触觉输入。”

该专利申请紧随其他关于 Apple Pencil 等触控笔的底座和笔尖的专利申请,其中许多甚至使用了相同的图纸。

2019 年 12 月,一项此类专利涉及 Apple Pencil 的触控笔如何使用触觉反馈更好地模拟在纸上绘画的感觉。一个类似的 2015 年涉及相同的目标,但涉及整个手写笔。

另一个例子,也是从 2019 年 12 月开始,触控笔使用相机来破译和记录表面的物理特征。

新专利的八位发明人共同拥有许多关于触控笔、提示和通信的此类专利的历史。

本文转载于:https://www.yundongfang.com/Yun167216.html 如有侵犯,请联系zhengruancom@outlook.com删除。
免责声明:正软商城发布此文仅为传递信息,不代表正软商城认同其观点或证实其描述。

热门关注