您的位置:首页 >跨平台录屏方案:Bililive-go部署与远程使用指南
发布于2025-08-22 阅读(50)
扫一扫,手机访问
本文将介绍如何在Windows系统上本地部署直播录屏工具Bililive-go,并结合cpolar内网穿透技术,实现对本地Bililive-go服务的远程访问,以便管理录屏任务。
许多朋友都喜欢观看直播,但如果临时有事无法观看,通常只能等到第二天去网上寻找录制的视频。如果找不到,那就会感到很失望。因此,今天我想向大家推荐一款可以在Windows、MacOS和Linux等多个操作系统上部署的开源录屏服务——Bililive-go。
尽管它的名称与B站相似,Bililive-go实际上支持录制B站、抖音、斗鱼、虎牙、快手等多个直播平台。用户只需简单几步操作,就能在本地搭建服务,并通过浏览器的web管理界面添加直播间地址进行录屏。
本教程将以Windows 10系统的部署为例进行说明。如果您希望在其他系统上进行部署,可以访问其官方GitHub页面获取更多信息。

首先,我们需要下载Windows对应的Bililive-go应用程序:
https://github.com/hr3lxphr6j/bililive-go/releases/tag/v0.7.25
然后,为了能正常使用Bililive-go,需要再下载FFmpeg Builds套件:
https://www.gyan.dev/ffmpeg/builds/#release-builds
如果上边的链接访问不了,也可以访问下方的网盘链接获取:
https://pan.baidu.com/s/19h_bJHT7ViXep8fM2LJoPw?pwd=6666
1.1 获取ffmpeg从FFmpeg Builds下载压缩包,将其中bin/ffmpeg.exe解压出来备用。
将下载好的bililive-windows-amd64.zip解压,得到应用程序与config文档。
然后将ffmpeg.exe复制到和bililive-go同一目录下:

双击 bililive-windows-amd64.exe 执行将使用和 exe 文件在同一目录下的 config.yml 文件作为默认配置文件启动程序。
大家也可以执行:
代码语言:javascript代码运行次数:0运行复制./bililive-windows-amd64 -c ./config.yml使用指定的配置文件来启动。

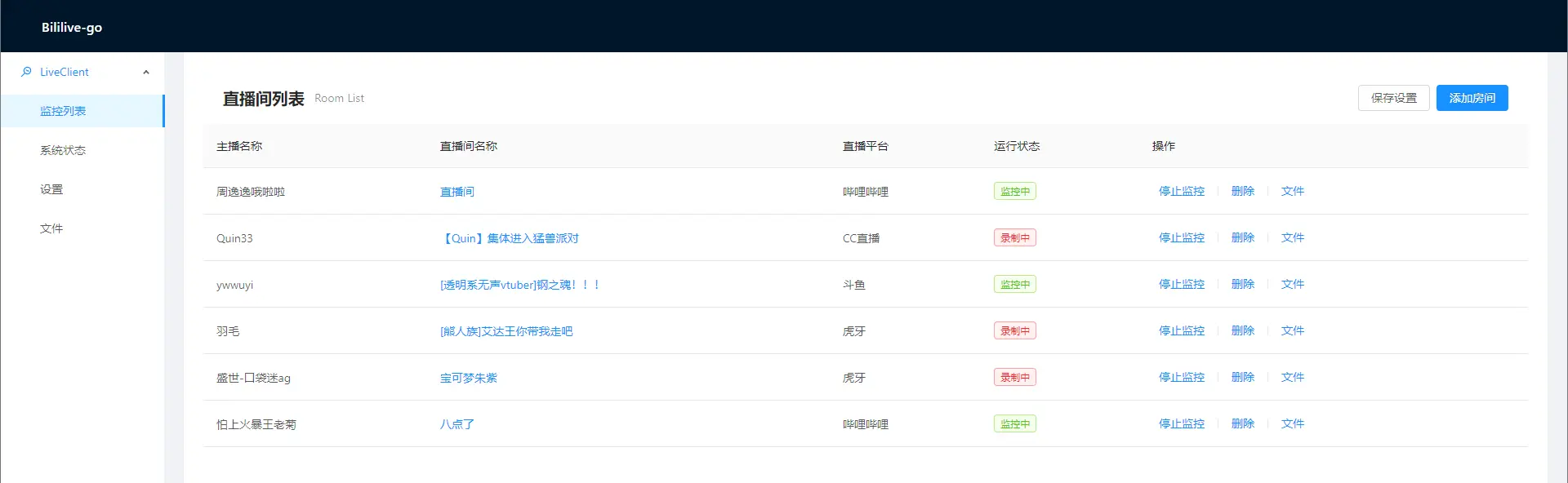
服务启动后,在本地打开浏览器输入本机IP加上8080端口,即可进入Bililive-go录屏神器的web管理界面:


我们进入Bililive-go录屏神器的web管理界面后,会看到直播间列表中有两个自带的直播间的信息,可以点击操作下方的删除按钮删掉。
添加房间
点击添加房间:

然后,在弹出的输入框中粘贴想要录屏的直播间url地址即可添加该直播间到列表,一旦直播开始,它会自动录制视频,记录整个直播过程。

点击停止监控可以结束录屏,停止后点击开启录屏则可以继续录屏,需要注意的是再次录屏会在当前主播录屏输出文件夹中生成一个新视频文件,不是和结束前的视频合并为一个视频文件:

点击文件可以查看录制的视频文件信息:

在文件页面可以看到录屏的视频文件保存路径,文件大小,最后修改时间等信息。
点击视频文件名,即可直接在浏览器观看录屏视频:

也可以找到输出文件路径中的文件夹,在生成的各直播平台输出文件夹中手动查看视频并选择播放器进行观看:
image-20240511142925337
在电脑端使用Bililive-go保存的录屏视频文件为FLV格式,很多播放器都可以直接观看。
4. 内网穿透工具下载安装此时,我们已经成功在本地的Windows系统电脑中部署了Bililive-go直播录屏,但仅能在本地局域网中使用,如果想在异地远程使用本地部署的录屏服务添加新的主播直播间进行录屏应该怎么办呢?
很简单,只要在本地电脑上安装一个cpolar内网穿透工具就能轻松实现公网访问内网部署的服务了,接下来介绍一下如何安装cpolar内网穿透并实现公网管理本地Bililive-go直播录屏神器!
安装cpolar步骤:
点击进入cpolar官网,点击免费使用注册一个账号,并下载最新版本的Cpolar
img登录成功后,点击下载Cpolar到本地并安装(一路默认安装即可)本教程选择下载Windows版本。
image-20240319175308664Cpolar安装成功后,在浏览器上访问http://localhost:9200,使用cpolar账号登录,登录后即可看到Cpolar web 配置界面,结下来在web 管理界面配置即可。
img接下来配置一下Bililive-go的公网地址,
登录后,点击左侧仪表盘的隧道管理——创建隧道,
创建一个 Bililive-go 的公网http地址隧道
隧道名称:可自定义命名,本例中使用luping协议:选择http本地地址:8080域名类型:免费选择随机域名地区:选择China Top
1715410832943隧道创建成功后,点击左侧的状态——在线隧道列表,查看所生成的公网访问地址,有两种访问方式,一种是http 和https,任选其一复制即可。
image-20240511150119055使用上面的公网地址,在手机或电脑等设备的浏览器进行登录访问,即可成功看到 Bililive-go的web界面,并能够远程进行直播录屏任务的添加,停止,删除等管理操作。可以看到使用了Cpolar生成的公网域名地址,无需自己购买域名和云服务器,即可到远程访问本地部署的服务了!
image-20240511150409986小结
如果我们需要经常异地远程访问本地的Bililive-go,由于刚才创建的是随机的地址,24小时会发生变化。另外它的网址是由随机字符生成,不容易记忆。可以把地址设置成固定的二级子域名,而且不用每次都重新创建隧道来访问,下面演示一下如何创建一个固定的http公网地址来解决这个问题。
6. 配置固定公网地址我们接下来为Bililive-go配置固定的HTTP公网地址,该地址不会变化,方便查看且无需每天重复修改访问地址。
登录cpolar官网,点击左侧的预留,选择保留二级子域名,设置一个二级子域名名称,点击保留,保留成功后复制保留的二级子域名名称:
image-20240511150814408保留成功后复制保留成功的二级子域名的名称,本例中使用的是zbluping,大家可以自行设置。
1715411377016返回登录Cpolar web UI管理界面,点击左侧仪表盘的隧道管理——隧道列表,找到所要配置的隧道:luping,点击右侧的编辑:
1715411424420修改隧道信息,将保留成功的二级子域名配置到隧道中
域名类型:选择二级子域名Sub Domain:填写保留成功的二级子域名:zbluping点击更新(注意,点击一次更新即可,不需要重复提交)
1715411497165更新完成后,打开在线隧道列表,此时可以看到公网地址已经发生变化,地址名称也变成了固定的二级子域名名称的域名:

最后,我们使用固定的公网地址在手机或其他设备浏览器打开访问,同上面一样操作,可以看到访问成功,这样一个固定且永久不变的公网地址就设置好了,可以随时随地进行异地访问Bililive-go来进行管理直播录屏了!

上一篇:爱奇艺随刻版取消会员步骤详解
售后无忧
立即购买>office旗舰店
售后无忧
立即购买>office旗舰店
售后无忧
立即购买>office旗舰店
售后无忧
立即购买>office旗舰店
正版软件
正版软件
正版软件
正版软件
正版软件
1
2
3
4
5
6
7
8
9