您的位置:首页 >苹果Vision Pro头显模块化专利曝光,要续航还是体验由你定
发布于2026-04-25 阅读(0)
扫一扫,手机访问
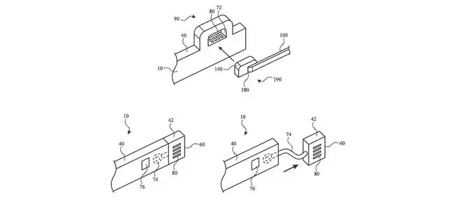
最近一项获批的苹果专利,给未来的头戴设备发展路径,指出了一个颇为有趣的方向。这项专利文件足足有28页,名称直白地叫作《可连接配件的头戴式设备》。它的核心思路很明确:未来的头显,或许不再是一个将所有功能都焊死在一起的整体,而是可以变成一个可扩展的平台。用户可以根据自己的需要,像搭积木一样,通过连接不同的配件来扩展功能。

这个设计理念,直接击中了当前头显设备的一个痛点:如何在重量和续航之间取得平衡。专利里描述的场景非常现实:如果你更追求佩戴轻盈,完全可以选择一块小容量电池来减重;反之,如果需要长时间在户外使用,换上一块大容量电池模块就行。甚至,为了极致续航,你还可以选择更换一块低分辨率的显示屏。把选择权交给用户,这无疑是解决众口难调问题的聪明办法。

模块化带来的想象空间,远不止于个人消费领域。专利特别指出,设备上的高带宽连接接口,能够支持制造商开发各种专业模块。这意味着什么?医疗检测、眼科诊断、工业精密制造等领域专用的传感器或高级摄像头,都有可能通过这个接口与头显连接,从而开辟出一片广阔的专业应用蓝海。
从商业模式上看,这很像是一种“按需组装”或深度配件化的思路。虽然苹果目前还没有为Vision Pro建立类似“Made for iPhone”那样的官方配件认证体系,但一旦硬件生态开放,设备的市场潜力很可能会被成倍放大。仔细看专利图纸,未来的设备主体可能真的会简化成一个基础框架,主要就负责提供机械咬合结构和数据通信接口,所有功能模块都环绕其上。这或许才是“可穿戴设备”一词的未来形态。
售后无忧
立即购买>office旗舰店
售后无忧
立即购买>office旗舰店
售后无忧
立即购买>office旗舰店
售后无忧
立即购买>office旗舰店
正版软件
正版软件
正版软件
正版软件
正版软件
1
2
3
4
5
6
7
8
9