商城首页欢迎来到中国正版软件门户

最新文章

  • Apple即将推出价格仅为Pro Display XDR一半的新型外接显示器 正版软件
    Apple即将推出价格仅为Pro Display XDR一半的新型外接显示器
    Apple开发新型外部显示器的花絮。据记者介绍,与ProDisplayXDR继任者不同的下一款外接显示器“注定价格只有苹果专业显示器的一半左右”。“希望”这种新的外部显示器“在来年推出”。重要的是要注意,正如记者所说的“希望”,实际上有消息来源告诉他这一点。说到Mac和iPad,我希望Apple的下一款外接显示器(价格注定是ProDisplayXDR的一半左右)在来年推出。关于这种新型外部显示器的发展:我坚信[Apple将为其最新款Mac推出一款新的外置显示器。](.
    1082天前 数码 苹果 显示器 显示器尺寸 display 外接显示器 0
  • 如何绕过无权更新消息的 Windows 11 正版软件
    如何绕过无权更新消息的 Windows 11
    当微软发布Windows11时,人们注意到的第一件事就是它大幅提高了最低硬件要求。您尤其需要全新的CPU。微软最终表示,您可以使用ISO在不受支持的PC上安装Windows11,但您将无法接收更新。事实证明,采用这种技术的人正在接收更新。不受支持的设备与Windows11更新中的其他设备处于同一轨道。但是,Microsoft不建议这样做。因此,如果您最近安装了Windows11,并且在尝试更新时遇到了关于您的设备无权授权的特定消息,那么您的PC或笔记本电脑现在可能已经很
    1082天前 电脑 Windows 11 0
  • 正版软件
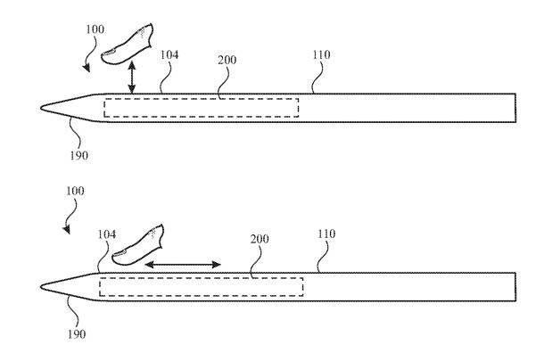
    "未来的Apple Pencil或将享有全新的全触控式控制技术"
    除了现有的双击功能外,ApplePencil还可以通过更全面的触摸感应控制来识别滑动等手势。ApplePencil2增加了用户通过双击触控笔主体上的面板来选择项目或更改模式的能力。苹果已于2020年1月获得“基于触控笔的触控输入”的专利,现在又获得了同名的更新专利。修改很小,两项授权专利都涉及在用户指尖放置一个灵活的传感器,该传感器可以接收触觉输入。“触觉输入可以在用户的​​自然握持位置接收,”Apple在“基于触控笔的触控输入”中说。“此外,触控笔可以有效地区分来自用户的触觉输入,而忽略
    1082天前 苹果 专利 0
  • 探索Windows 11中新的Outlook邮件应用程序的Mica设计特点 正版软件
    探索Windows 11中新的Outlook邮件应用程序的Mica设计特点
    Microsoft通过将基于EdgeHTML的Edge迁移到Chromium引擎,成功解决了Windows上的Web浏览器问题。该公司现在对Outlook应用程序采用了类似的策略,并已开始通过OfficeInsider渠道推出适用于Windows11和Windows10的新电子邮件客户端。对于那些不知道的人,Windows目前支持两个桌面电子邮件客户端——预安装的基于UWP的邮件应用程序和与MicrosoftOffice生产力套件捆绑在一起的Out
    1082天前 软件 Outlook 0
  • 修复不同步的 Windows 11 主题的 5 种方法 正版软件
    修复不同步的 Windows 11 主题的 5 种方法
    同步你的Windows11设置和首选项是在你的Windows设备上拥有所有相同设置的好方法。但是,用户报告说他们的Windows11主题无法在他们的设备之间同步。为什么我的Windows11主题不同步?您的Windows11主题不同步的原因有很多。其中之一可能是您的PC管理员禁用了同步设置。您的Microsoft帐户可能未经过验证,或者某些帐户信息不正确。损坏的系统文件也可能导致发生此错误。尝试以下解决方案以快速解决此问题。如何让我的Windows11主题同步?1
    1082天前 windows系统 50
  • M1 Ultra Mac Studio 与 M1 Max MacBook Pro 正版软件
    M1 Ultra Mac Studio 与 M1 Max MacBook Pro
    如果您一直想知道高端MacStudio与最高端MacBookPro的对比情况,请不要再观望,因为我们有一个不完全依赖于基准测试的真实使用情况比较。它已经达到并超出了他的期望和需求。显然,M1Ultra也是如此,但即使对于技术网站的专业视频编辑器来说,它的价格也可能有点太多了。举个简单的例子,在‌M1Max‌MacBookPro上导出标准4K10分钟视频需要4分50秒,而在‌M1‌Ultra‌MacStudio‌上则需要3分钟。在MacBookPro上
    1082天前 Mac MacBook m1 0
  • 比较:适用于初学者的 MacBook Air 与 13 英寸 MacBook Pro 正版软件
    比较:适用于初学者的 MacBook Air 与 13 英寸 MacBook Pro
    苹果在其笔记本电脑系列中为用户提供了13英寸MacBookPro和13英寸MacBookAir作为入门级机型的选择,但对于日常用户来说,这两条线有很大区别吗?这就是对于那些刚接触Mac的人来说,在价格范围内使用Air或Pro意味着什么。Apple的MacBook系列包括四种型号,其中三种以“Pro”型号销售。第四个不同,MacBookAir的不同不仅仅是名称。多年来,MacBookAir最初是作为轻薄笔记本销售的。对于那些刚接触Mac的人来说,它是理想的入门级选
    1082天前 芯片 Mac Air MacBook 苹果macbook air 笔记本电脑 0
  • Microsoft Edge 为 Bing 搜索、Office、游戏等提供侧边栏 正版软件
    Microsoft Edge 为 Bing 搜索、Office、游戏等提供侧边栏
    如果你认为微软在Edge浏览器中测试的所有不必要的功能都是不必要的或过时的软件,该公司已经提出了侧边栏来快速访问它们。请注意,此侧边栏与我们之前介绍的Office侧边栏不同。MicrosoftEdge中的边栏截至目前,边栏在MicrosoftEdge中开箱即用且可见,无需启用任何标志。它提供了用于访问以下Microsoft功能的按钮。必应搜索最近我们报道了谷歌浏览器已经收到了一个侧面板来查看谷歌搜索结果,而无需离开你所在的当前页面。该功能类似于EdgeSidebarSear
    1082天前 edg战队 0
  • Microsoft PowerToys v0.61.0 现在可用,并进行了许多改进 正版软件
    Microsoft PowerToys v0.61.0 现在可用,并进行了许多改进
    微软发布了其实用程序PowerToys的新版本,没有添加任何新功能和更改。然而,最新的PowerToys版本0.61.0增加了一组很好的修复和改进,就像之前的版本0.60.1一样。它还包括许多您应该注意的已知问题。如果您想了解有关已修复内容的更多信息,完整的官方变更日志如下。变更日志您可以在此处找到PowerToysv0.60.1的完整官方更新日志。对于那些不知道的人,MicrosoftPowerToys是一组实用程序,包括ColorPicker、FancyZones
    1082天前 0
  • 如何在 iPadOS 16 上使用 iPad 上的新焦点滤镜 正版软件
    如何在 iPadOS 16 上使用 iPad 上的新焦点滤镜
    在iOS15和iPadOS15中,Apple引入了FocusMode作为一种新的方式,让用户可以根据他们当前正在做的事情,甚至是一天中的时间来自定义通知。在iOS16和iPadOS16中,Apple通过FocusFilters进一步提升了这种体验。请继续阅读,我们将详细介绍如何利用此新功能。带有iOS16和iPadOS16的焦点滤镜虽然焦点模式允许用户限制对某些应用程序的访问,但焦点过滤器可以改变您的应用程序的工作方式。这意味着每个自定义过滤器都可以确定
    1082天前 软件 iPad 0